Le corps des astronautes effectuant de longs séjours dans l’espace subit des altérations considérables. Perte de densité osseuse et de masse musculaire, problème cardiaques ou encore… troubles de la vue, comme l’indique une étude parue lundi. Petit tour d’horizon des défis physiques auxquels les astronautes du futur auront à faire face.
La Nasa ne se cache plus, elle souhaite envoyer des humains sur Mars à horizon 2030, avec l’aide de SpaceX. Tout un programme, détaillé ci-dessous.
Mais en dehors des multiples contraintes techniques (vaisseau suffisamment grand, gestion de l’atterrissage sur Mars, gestion du carburant, vie sur place en l’absence d’eau et d’air respirable, etc.), il faudra également réfléchir aux limites que nous impose notre corps humain. Le voyage vers Mars durera au bas mot plus de 6 mois, avec les technologies actuelles. Durant un temps si long dans l’espace, le corps humain est très largement malmené.

Un corps pas fait pour l’impesanteur
Cette volonté martienne a donc incité les agences spatiales NASA et ESA a allonger la durée de leurs missions. Ces dix dernières années, un nombre grandissant d’équipages ont passé des mois entiers dans la Station spatiale internationale (ISS). L’Américain Scott Kelly y a passé un an, le Britannique Tim Peake plus de six mois, tout comme Thomas Pesquet, qui vient d’y prendre place.
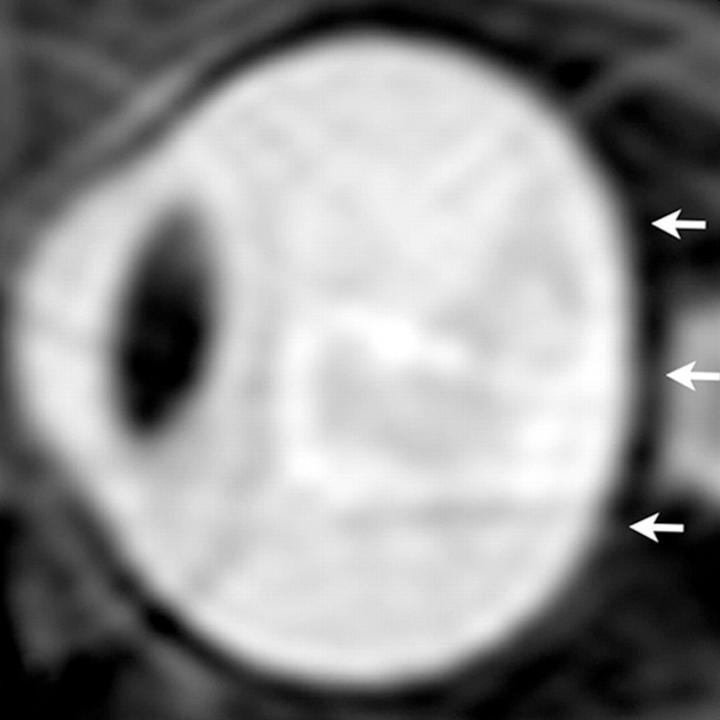
Ces astronautes sont en réalité des cobayes pour les missions futures. Et le moins qu’on puisse dire, c’est qu’ils donnent de leur corps pour faire avancer la science. Car les vols en impesanteur ne sont pas de tout repos pour le corps humain. Dernier exemple en date, les médecins de la Nasa ont observé des troubles de la vision chez les astronautes restant longtemps dans l’espace. Cette dernière est altérée en raison, là encore, de l’absence de gravité, indiquent les scientifiques de l’Université de Miami dont l’étude a été dévoilée lundi.
Les examens approfondis sur ces cobayes de l’espace ont montré que les troubles de la vision provenaient de plusieurs changements provoqués par l’impesanteur, dont un aplatissement du globe oculaire et une inflammation de l’extrémité des nerfs optiques.


L’étude a donc comparé les cerveaux de sept astronautes ayant passé plusieurs mois dans l’ISS à ceux de neuf de leurs collègues qui s’y sont rendus pour des missions plus courtes. Ils ont constaté que les astronautes ayant séjourné de longs mois dans l’avant-poste orbital avaient une plus grande quantité de fluide cérébrospinal dans le cerveau. Ce liquide protège le cerveau et la moelle épinière, achemine les nutriments et retire les déchets.
Sur la Terre, ce fluide permet une adaptation du corps aux différentes positions, debout, allongé ou assis. Mais en impesanteur ce mécanisme hydraulique est « perturbé par l’absence des changements de pression en fonction des différentes positions du corps », explique le Dr Noam Alperin.
Une longue liste de défis à relever
Cette nouvelle étude ne fait que s’ajouter à la longue liste des troubles provoqués par l’impesanteur. Car jusqu’à maintenant, nous savions que cette dernière provoquait :
- Une déminéralisation des os. Le squelette ne portant plus le corps, l’organisme « oublie » comment revitaliser ses os. Perte de calcium, sodium et potassium, fragilité, ostéoporose, etc.
- Perte de masse musculaire. Là encore, le corps s’habitue à ne plus avoir besoin de ses muscles. Les astronautes ont besoin de faire énormément de sport pour se maintenir en forme. Malgré cela, la perte musculaire, voire l’atrophie, est inévitable.
- Les artères « vieillissent » plus vite. La paroi des artères s’épaissit beaucoup plus vite que sur Terre. Au retour de Scott Kelly, il a été estimé que ses artères avaient subi « l’équivalent de vingt à trente ans de vie terrestre ».
- La tête gonfle, les jambes mincissent. Sur Terre, l’effet de la gravité permet au sang de circuler dans tout le corps. Mais en impesanteur, le sang monte vers le haut du corps, notamment vers le cerveau, ce qui provoque une hypertension crânienne. À l’inverse, chaque jambe peut perdre un à deux litres de sang. Tête gonflée, yeux injectés et de sang et jambes de poulet, on a vu plus sexy.

On peut citer, parmi les autres réjouissances, la perte d’audition, des troubles de la coordination, l’allongement du squelette (on peut grandir de presque 5 cm sous l’effet de l’impesanteur), les articulations endolories, etc.
Les agences spatiale planchent donc sur tous ces problèmes avant d’envoyer sur Mars des humains dont les organismes pourraient se rebiffer. Sachant que nous n’avons évidemment pas tout vu. Les études des corps de l’Américain Scott Kelly, ainsi que de son frère jumeau monozygote Marc, resté sur Terre, n’ont pas encore rendu toutes leurs conclusions. Mais un an en impesanteur a d’ores et déjà laissé des séquelles sur Scott Kelly.
Hommes et femmes non égaux
Les impacts physiologiques de longs séjours dans l’espace sont par ailleurs différents chez les hommes et chez les femmes.

On constate par exemple que les astronautes masculins dans l’espace ont des pertes d’audition plus importantes que leurs homologues féminines. Il en va de même pour les troubles visuels évoqués plus haut. À l’inverse, les femmes astronautes sont plus sujettes au mal de l’espace, aux infections urinaires.
Si l’étude de la NASA a (sérieusement) prouvé que les femmes n’étaient pas un frein à l’exploration spatiale et qu’il n’y avait aucune différences psychologiques entre des astronautes masculins et féminins, elle prouve aussi qu’il faut que les agences envoient plus de femmes dans l’espace, notamment dans des missions comme celle qu’a effectué Scott Kelly. Car l’étude a montré en revanche que les différences physiologiques étaient bien réelles, et que l’impact d’une exposition longue au phénomène d’impesanteur est moins connu pour les femmes.
Qui peut aller dans l’espace ?
À la lecture de ces tortures infligées on est en droit de se demander qui ̶e̶s̶t̶ ̶a̶s̶s̶e̶z̶ ̶f̶o̶u̶ a une condition physique suffisante pour tenter de telles missions. Il faudrait un corps en titane et le train de vie d’un athlète de très haut niveau. Pourtant, Scott Kelly n’a pas tout à fait le physique de Cristiano Ronaldo. De son côté Peggy Whitson, actuellement dans l’ISS avec Thomas Pesquet et Oleg Novitski, a 56 ans, et reste pourtant très loin de John Glenn qui a effectué son dernier vol dans l’espace à l’âge de 77 ans.
« Médicalement, tout le monde ne peut pas voler, c’est certain. Mais si on peut soutenir l’effort, on peut voler, résume Frank Lehot, docteur en médecine aérospatiale interrogé par Nom de Zeus. Bien sûr, pour un vol orbital, on étudie tous les risques : AVC, claustrophobie, surpoids etc. Mais les pilotes ont un entraînement quasi-militaire. Les premiers étaient d’ailleurs tous anciens pilotes de chasse ». Ajoutant que la partie la plus risquée d’un vol spatial pour le corps humain reste le décollage et la « sensation d’écrasement que subit le corps ».
De plus, il faut penser à l’avenir, comme le rappelle Lionel Suchet, directeur innovation, applications et sciences au Centre national d’études spatiales (CNES) dans les colonnes de l’Express : « on ne peut pas se permettre d’envoyer dans l’espace des personnes fragiles, tout l’équipage serait en danger. Donc on s’assure qu’il n’existe aucun risque de dégradation de leur état dans les prochaines années, car il s’écoule parfois dix années entre leur sélection et leur départ ». Thomas Pesquet, 38 ans, en parfaite santé physique, sportif, s’est entraîné durant sept ans avant de partir pour l’ISS. Qu’est-ce que ça sera quand il s’agira de s’envoler vers Mars !
Toutes ces limites physiques sur lesquelles travaillent les agences spatiales tomberont probablement un jour ou l’autre. Et il semble désormais manifeste que le voyage habité vers Mars se fera un jour. Mais le corps humain devra garder une chose en tête : une fois sur place, les ennuis ne feront que commencer !